Poza 7 / 13

Ford va introduce o cutie de viteze manuală fără ambreiaj

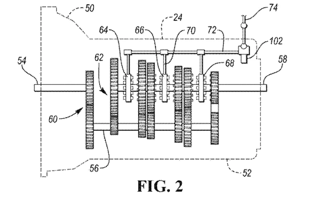
Cu toții știm că o cutie de viteze manuală presupune și existența pedalei de ambreiaj, însă Ford duce acest concept la un cu totul alt nivel. Producătorul american de automobile brevetează un tip de transmisie […]
Inchide