Poza 2 / 2

Ford vrea să extindă autonomia mașinilor electrice printr-un pachet de baterii montat pe plafon

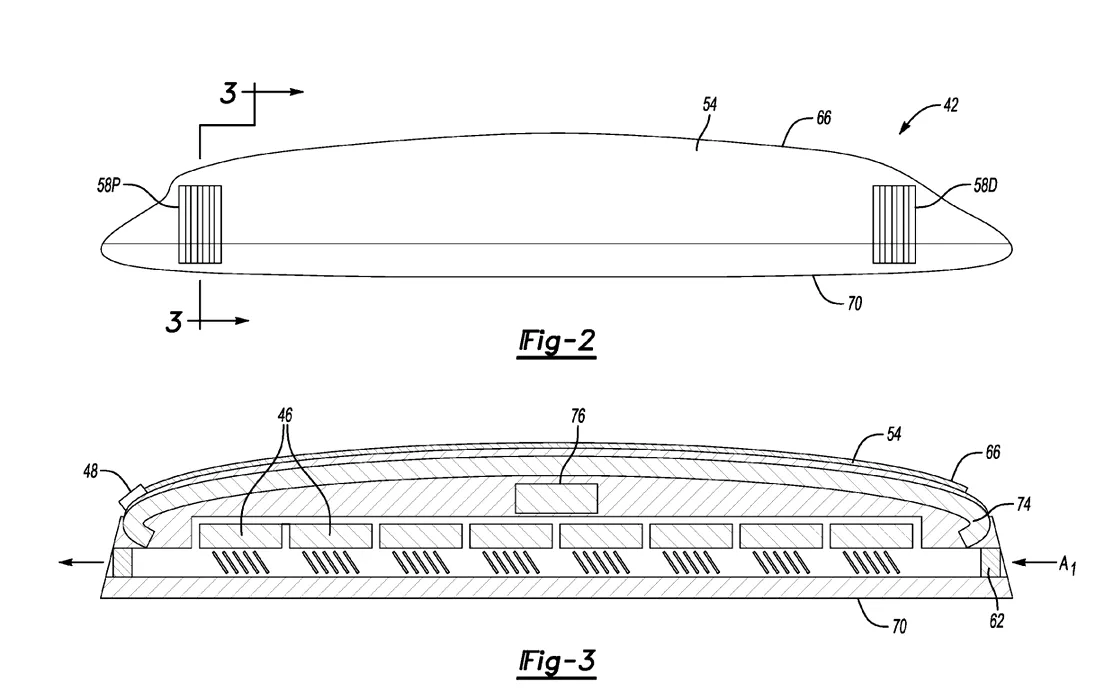
Ford depune un brevet pentru o pentru un pachet de baterii ce poate fi montat pe plafonul mașinilor electrice, soluție care să mărească autonomia. Ford a depus un brevet destul de interesant pentru o baterie […]
Inchide