Porsche dezvoltă o cutie de viteze care permite trecerea de la modul manual la cel automat. Care sunt similaritățile cu transmisia Koenigsegg?

Autor: Daniel Simion 18 mart. 2026 Știri auto
Porsche dezvoltă o cutie de viteze care permite trecerea de la modul manual la cel automat. Care sunt similaritățile cu transmisia Koenigsegg?

Porsche este unul dintre puținii producători auto care dorește să mențină în viață transmisia manuală. Dar, cu toate acestea, majoritatea dorește o transmisie automată, în principal pentru ușurința cu care o mașină cu o astfel de transmisie se conduce. Pentru a împăca ambele părți, Porsche lucrează la un nou tip de transmisie care combină beneficiile celor două tipuri deja cunoscute.

Potrivit unei cereri de brevet depusă la Oficiul German de Brevete și Mărci, Porsche lucrează încă din vara anului 2024 la o transmisie care să îmbine beneficiile unei cutii automate cu plăcerea de a conduce o mașină cu transmisie manuală. Abia în urmă cu câteva săptămâni cererea a fost făcută publică pe site-ul oficiului.

Legătura dintre Porsche și Koenigsegg

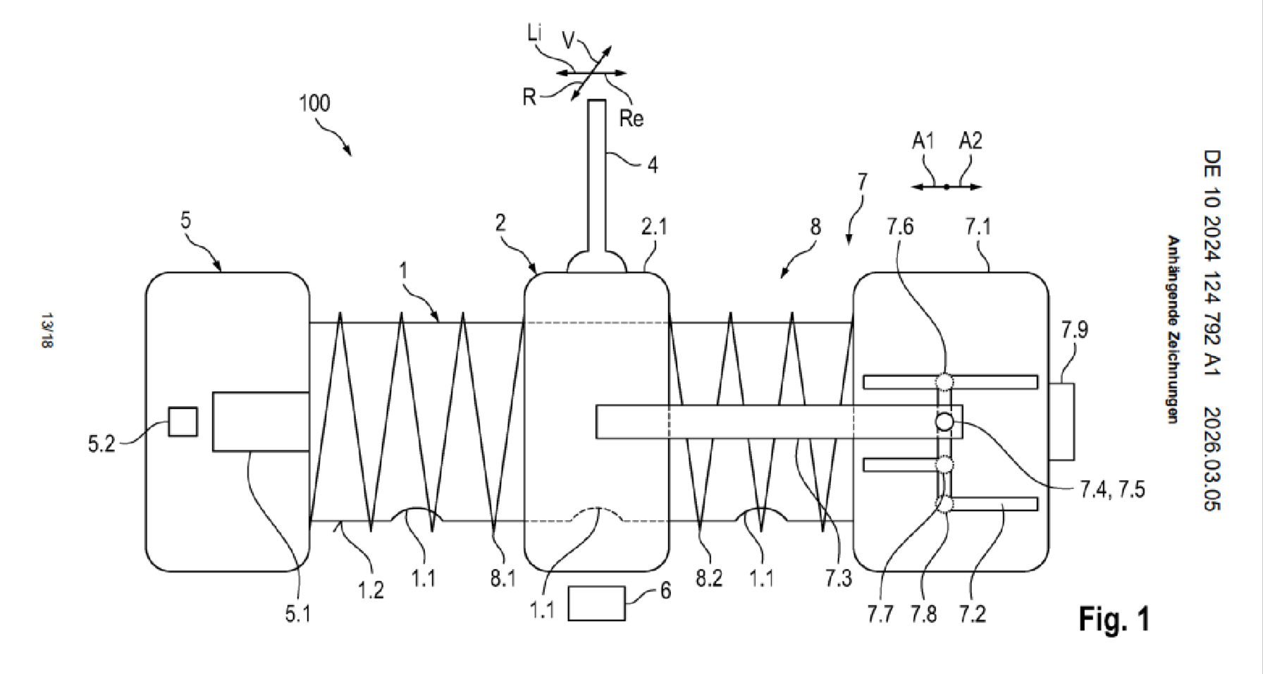
Titlul cererii descrie un „dispozitiv de selectare a treptelor de viteză pentru o transmisie de autovehicul”. Detaliile suplimentare din rezumat și fotografii descriu un schimbător de viteze care include pozițiile de mers, neutru și marșarier, dar și trepte numerotate, așa cum se găsesc la o transmisie manuală.

Sursa foto: captură de ecran via Oficiul German de Brevete și Mărci

Și suedezii de la Koenigsegg au produs o astfel de transmisie. Montată pe hypercar-ul CC850, ea se numește Engage Shift System (ESS) și își schimbă rapoartele în funcție de modul de condus ales. Transmisia poate fi setată fie ca una manuală cu 6 rapoarte și ambreiaj, fie una automată cu 9 rapoarte.

Cum funcționează transmisia Porsche?

În loc să aibă un model manual cu treptele obișnuite 1–6, marșarier și o setare D (drive) pentru automat, versiunea Porsche are în schimb două zone separate pentru schimbătorul de viteze, una cu drive (D), marșarier (R) și neutru (N), iar cealaltă cu trepte numerotate. Ambele vor funcționa în sistem shift-by-wire, făcând posibilă utilizarea atât a modului automat, cât și a celui „manual” într-un singur sistem.

„În modul de funcționare cu model H, treptele de schimbare a vitezelor, adică treptele de viteză ale transmisiei vehiculului, pot fi selectate direct – analog cu un model H convențional (mecanic) – prin deplasarea manetei de selectare înainte și înapoi, în combinație cu deplasarea acesteia la stânga și la dreapta”, se arată în brevetul depus de Porsche.

Ar putea Porsche să salveze cutiile manuale?

CarBuzz a pus această întrebare în contextul în care, chiar și cu una dintre cele mai bune transmisii automate de pe piață (transmisia PDK a Porsche), producătorul auto german se confruntă cu greutăți în a le ține în viață. Cererea pentru transmisiile manuale Porsche este mult mai mare în SUA, iar cumpărătorii americani au ajutat Porsche să creeze modelul 992.2 Carrera T, care vine doar cu transmisie manuală.

Cu această nouă transmisie care poate aduce și comoditatea unei automate, și plăcerea unei manuale, proprietarii pot trece la modul manual pe un drum distractiv, apoi pot readuce mașina în modul automat pentru trafic. Și întrucât conceptul se realizează prin shift-by-wire, ne imaginăm că poate face față unei puteri mai mari decât cutiile manuale de astăzi.

Depunerea de brevete nu garantează utilizarea unei astfel de tehnologii în viitoarele vehicule și este adesea folosită exclusiv ca mijloc de protejare a proprietății intelectuale. O astfel de depunere nu poate fi interpretată ca o confirmare a intenției de producție.


Urmărește Promotor.ro pe Google News


Sursa foto: Porsche


Daniel Simion
Daniel Simion
Daniel Simion a terminat Facultatea de Jurnalism și Științele Comunicării (FJSC), la Universitatea din București. Licențiat în Comunicare și Relații Publice, el urmează acum masterul de Jurnalism Tematic pentru a se specializa în domeniul care îl pasionează de tânăr. În 2025, pasiunea ... citește mai mult

Comentarii
Inchide